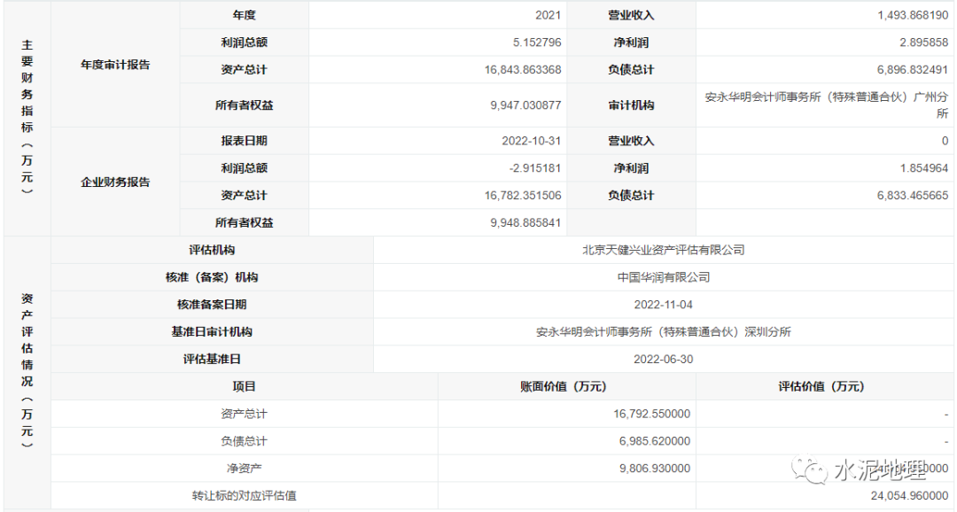
3.45亿起拍!华润水泥(阳江)公司100%股权再次挂牌转让
2023年07月04日
温馨提示:本文缺失图表,可关注“水泥地理”微信公众号查看完整原文。

打印 | 标签:
水泥地理版权与免责声明
-
① 水泥地理gcement已申请注册,凡本网注明"来源:水泥地理"的所有文字、图片和音视频稿件,版权均为"水泥地理"独家所有,任何媒体、网站或个人在转载使用时必须注明来源"水泥地理"。违反者本网将依法追究责任。
② 本网转载并注明其他来源的稿件,是本着为读者传递更多信息之目的,并不意味着赞同其观点或证实其内容的真实性。 其他媒体、网站或个人从本网转载使用时,必须保留本网注明的稿件来源,禁止擅自篡改稿件来源,并自负版权等法律责任。违反者本网也将依法追究责任。
③ 如本网转载稿涉及版权等问题,请作者一周内来电或来函联系。

会员登录
